Principe en krachtswerking
Het dilatatieprincipe van de geperforeerde rubbermatvoeg berust op compressie/extensie van rubber. Door de elastische eigenschappen van de geprefabriceerde rubber matten kunnen de verwachte bewegingen van een constructie opgenomen worden. De horizontale stijfheid is echter gering door de perforaties. De dilatatiecapaciteit in X-richting varieert tussen 40 en 160mm. De capaciteit in Y-richting is door de relatief grote breedte van de matten zelfs nog groter.

De geometrie van de perforaties is dusdanig gekozen dat in verticale zin een ‘optimale’ stijfheid wordt bereikt. Ook in dwarsrichting is een beperkte dilatatiecapaciteit aanwezig. Ook kunnen kleine rotaties en hoogteverschillen worden opgenomen. De geperforeerde mattenvoeg wordt met een klemconstructie door middel van ankerbouten gefixeerd op een in de betonnen onderbouw opgenomen staalconstructie. In Nederlandse situaties wordt de voegovergang voorzien van betonnen randbalken. Dit heeft ook een positieve effect op de weerstand tegen horizontale aanrijdbelasting bij spoorvorming van het asfalt omdat de klemlijsten niet belast worden.
De voegovergang is herkenbaar aan de met ankerbouten aan de onderliggende constructie gemonteerde klemconstructie en de in de lengte van de mat aanwezige ribbels. In tegenstelling tot de gewapende mattenvoeg bestaat deze uit één geheel, zonder lasnaden.
Bij alle bewegingen ontstaan reactiekrachten, circa 0,2 – 0,4 kN/mm uitrekking per meter voeglengte. De ankers bestaan uit voorspanbouten die op voorspanning worden gezet met aan aandraaimoment op de boutkop. Die ankers nemen de trekkachten op die ontstaan uit interne krachten uit de mat, de terugveerkrachten die ontstaan uit het dynamische gedrag van de mat en het moment dat ontstaat uit verkeersbelasting op het randprofiel zelf.
Bij dit type voeg draagt de mat de verkeersbelasting over het gehele oppervlak van de basis de verkeersbelasting af naar de stalen basisconstructie. Het niet ondersteunde deel functioneert als een korte ingeklemde balk die tevens in staat is om verlenging en verkorting op te nemen. De geperforeerde mat ligt opgestoten tussen de klemprofielen. Deze verbinding behoeft een goede voorspanning tussen de stalen delen in verband met de wisselende belastingen uit het verkeer. Maatafwijkingen van het rubberprofiel te dik, of te dun, het juiste aanliggen van het klemprofiel en de juiste voorspanning in de bouten hebben een grote invloed op de werking van deze bevestiging.
In principe zijn deze mattenvoegen waterdicht en wordt het water gekeerd en afgevoerd aan de bovenzijden van de voegovergang. De matten worden in lengtes van maximaal 12 meter gefabriceerd. Bij een grotere benodigde lengte wordt in de fabriek een vulkanisatielas gemaakt. Dit is in-situ moeilijker uitvoerbaar.
Tussen 2003-2006 zijn bij Rijkswaterstaat op een beperkt aantal plekken geperforeerde matten toegepast in autosnelwegen. Toepassing vond vooral plaats in kunstwerken met kleine overspanningen met geringe voegbewegingen. Incidenteel in kunstwerken met grote overspanningen en grote dilataties zoals de Stichtse Brug. De voornaamste reden dat deze mattenvoegen zijn toegepast betrof de gunstigere geluidreducerende eigenschappen ten opzichte van nosing joints. In die tijd waren geluidreducerende nosing joint met sinusplaten nog niet beschikbaar.
Geperforeerde matten werden oorspronkelijk ontworpen voor toepassing in kunstwerken voor spoorwegen. De robuuste verankering, de waterkering en beperking van geluid zag men als voordelen voor toepassing in autosnelwegen. In de praktijk blijken deze voordelen echter niet altijd op te gaan, vooral niet bij de grotere types. In de praktijk blijken de rubberprofielen erg gevoelig voor beschadigingen en laten ook de klemlijsten los. Reparatie blijkt gecompliceerd. In de praktijk blijken de klemconstructies water door te laten, los te kunnen trillen en uitgereden te kunnen worden. De ‘upswing’ van matten voor grote voegbewegingen veroorzaakt klapperen van de mat met kans op geluidhinder en scheuren tussen de perforaties in de mat. Water loopt daardoor in en door de mat. Door verlies van voorspanning en trillen van bouten beschadigt de schroefdraad. Hergebruik van de draad is dan niet meer mogelijk. Realiseren van nieuwe schroefdraad is erg arbeidsintensief, tijdrovend en dus erg duur. De matten zijn zo flexibel dat harde voorwerpen in de matten gereden kunnen worden. Het ontwerp voorziet niet in beheerste geleiding en afvoer van mogelijk lekwater door bijvoorbeeld gootconstructies in de brugdekopeningen.
De levensduurverwachting in autosnelwegen is bij de grotere types laag. Binnen enkele jaren bleken schades op te treden aan de mat. Praktijkervaring leert dat vervanging van onderdelen ook tot problemen kan leiden door maattoleranties. Nieuwe matten passen niet per definitie in de klemprofielen en andersom. Maattolerantie van vervangen klemprofielen leidt tot inpassingsproblemen. Dit leidde in de praktijk tot falen van de randprofielen.
Bij het vervangen van de mat vanwege schade met lekkage, is hergebruik van tapgaten noodzakelijk. Bij beschadigde draad is vervanging van die draad noodzakelijk, bijvoorbeeld d.m.v. Helicoils of draadbussen. Dit herstel is echter zeer tijdrovend en kostbaar.
De T80 mattenvoeg in de Stichtse Brug is in 2006 aangelegd. In 2011 is de mat vervangen en hebben er reparaties plaatsgevonden. In 2015 is de gehele constructie vervangen door een vingervoeg door terugkerende schade. Zie onderstaande foto’s van de schades en het herstel.
De kleinste variant, de T40, wijkt qua levensduur in positieve zin hiervan af. De T40 mattenvoegen in de A28 bij Hoevelaken zijn in 2003 aangelegd en zijn tot op heden nog steeds in gebruik.
Onderdelen en aansluitingen
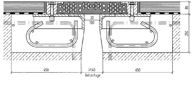
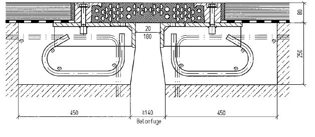
In onderstaande figuur zijn de onderdelen van de geperforeerde mattenvoeg aangegeven. In de standaard uitvoering zijn de randprofielen rechtstreeks aangesloten op het asfalt. Er kan ook worden gekozen om betonnen randbalken toe te passen.

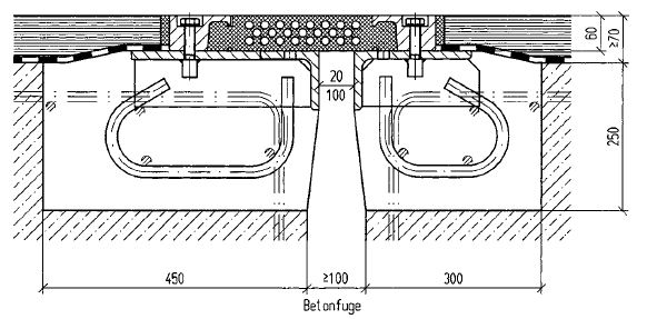
Een voorbeeld voor een aansluiting op een stalen brug:

Varianten
De huidige leveranciers van geperforeerde mattenvoegen zijn Mageba en Maurer. Bij Rijkswaterstaat zijn voornamelijk Reisner Wolff Sollinger Hutte (RWSH) mattenvoegen toegepast. RWSH is overgenomen door Mageba.
De mattenvoegen worden in verschillende capaciteiten geleverd: 40mm, 80mm,130mm en 160mm.
Voor de klemlijsten zijn er twee varianten mogelijk: een slanke lijst waarbij de boutverbinding wordt verborgen door afdekking met een randbalk en een massieve lijst waarbij de boutverbinding toegankelijk blijft. De laatste heeft zeker de voorkeur i.v.m. de vervangbaarheid van de mat.
Voor het basismodel voor nieuwbouw met lusankers is een aanzienlijke inbouwhoogte vereist. Indien die niet beschikbaar is kan eventueel ook een slankere versie met deuvelankers worden toegepast.

Voor renovaties van bestaande kunstwerken zonder sparingen voor voegovergangen is er een renovatievariant die in het asfalt kan worden ingebouwd.











