Open rijroosters (beëindigingsprofielen)
Bij de allereerste bruggen en viaducten waren voegovergangen feitelijk niets anders dan open rijroosters, beëindigingijzers. De verkeersbelasting van toen was nog niet te vergelijken met nu. Aan de rijroosters werd niet gerekend. Open rijroosters werden vanaf 1960 dichte rijroosters vanwege de als hinderlijk ervaren lekkage en daaruit ontstane schades, toen voornamelijk nog uitspoelingen van taluds en esthetisch van aard. Chloride geïnitieerde wapeningscorrosie van de betonconstructie kwam pas later in de jaren 80 in beeld. Waar mogelijk werden in open rijroosters ACME-profielen gelijmd, maar of dit leidde tot een goede waterdichtheid was afhankelijk van de aanwezige sponningmaat en mate van aantasting van de randstrippen.
Ontwikkeling waterdichte rijroosters (concept 1.1)
Met de ontwikkeling van het hoofdwegennet en toename van het wegverkeer ontstond een behoefte aan robuuste waterdichte voegovergangen. In eerste instantie werden door Rijkswaterstaat Directie Bruggen nieuwe standaardconstructies ontworpen met verschillende dilatatiecapaciteiten:
– enkele kleine voeg (EKV) met een capaciteit van 15 mm
– enkele grote voeg (EGV) met een capaciteit van 25 mm
– DB30 met een capaciteit van 30 mm
Meer informatie hierover is te vinden in paragraaf 4.1.3.1.

Later werden door marktpartijen zoals Maurer en Spanstaal ook alternatieve rijroostersconstructies ontwikkeld met andere compressie-afdichtingsprofielen waardoor de dilatatiecapaciteit werd vergroot tot circa 60mm.
Meer informatie hierover is te vinden in paragraaf 4.1.3.2. en 4.1.3.3.
Het rapport “waterdichte rijbaanovergangen voor bruggen en viaducten” uit 1990 bevat een interessant historisch overzicht van de diverse rijrooster voegovergangen.
Rijroosters bevinden zich nog steeds in veel kunstwerken, soms nog met de originele afdichtingprofielen. De conditie van de ingebetonneerde rijroosters is meestal wel goed, maar de afdichtingsprofielen zijn door verschillende oorzaken meestal niet meer waterdicht. Door krimp en kruip van de constructie voldoet vaak de dilatatiecapaciteit niet meer en zal onvoldoende blijvende voorspanning op het rubberprofiel aanwezig zijn. Ook zijn de staal-rubberpakketten van de EGV of ACME-rijroosters niet altijd doorgaand afgelast, met spleetcorrosie en lekkage tot gevolg. Het vervangen van het afdichtingsprofiel is dan ook vaak niet de oplossing. Ook kunnen de verticale flanken van het stalen randprofiel ernstig zijn aangetast door spleetcorrosie waardoor geen goed en vlak hechtvlak meer bestaat om een goede waterdichte aansluiting met het rubberprofiel te realiseren.
In de jaren 90 werd veel geëxperimenteerd met het modificeren van rijroosters, waarbij de originele rubberpakketten werden omgebouwd naar klauwprofielen. Het bleek in veel gevallen een succes, maar modificatie was soms zeer bewerkelijk en niet in alle gevallen goed mogelijk. Doordat er veel overlaagd werd met ZOAB werd ook geexperimenteerd met modificaties waarbij het rijrooster werd opgehoogd met epoxybalken. Als gevolg van de nadelen van epoxy bleken deze oplossingen niet erg duurzaam en betrouwbaar.
Meer informatie over modificatie is te vinden in paragraaf 4.1.3.4.
Einde tijdperk rijroosters, introductie kunsthars- en staalvezelbetonvoegen (concept 1.5)
De rijroosters waren tot ongeveer 1980 de standaardoplossing. In de jaren 70 werd geexperimenteerd met kunstharsvoegbalken als alternatief voor de rijroosters. In 1977 verscheen een evaluatierapport van directie Wegen waarin toepassing van kunstharsvoegen werd toegestaan voor nieuwbouw en renovatie. Vanaf dat moment werden rijroosters steeds minder toegepast. Kunstharsvoegovergangen zijn veelvuldig toegepast tot omstreeks 2000.
Als afdichtingsprofiel werden ,net als bij de laatste generatie van de rijroosters, ACME- en Vredestein VA-compressieprofielen gebruikt die verlijmd werden aan de epoxybeton. Toen de nadelen van epoxybeton steeds duidelijk werden werd gezocht naar alternatieve oplossingen. Die werd gevonden in de toepassing van staalvezelbeton. Het uitvoeren van concept 1.5 was het werkgebied van betonreparatiebedrijven.
Eind jaren 90 werd geëxperimenteerd met stalen klauwprofielen met deuvelverankering in combinatie met staalvezelbetonnen of kunstharsbetonnen randbalken. De klauwprofielen met ingeklemd bandprofiel was een qua waterdichtheid een betrouwbaardere oplossing dan de tot dan toe gebruikelijke compressieprofielen. Helaas bleekt de deuvelverankering in veel geballen niet langdurig bestand tegen de zware verkeersbelasting en intensiteit van autosnelwegen en gingen vele voegovergangen binnen 10 jaar kapot.

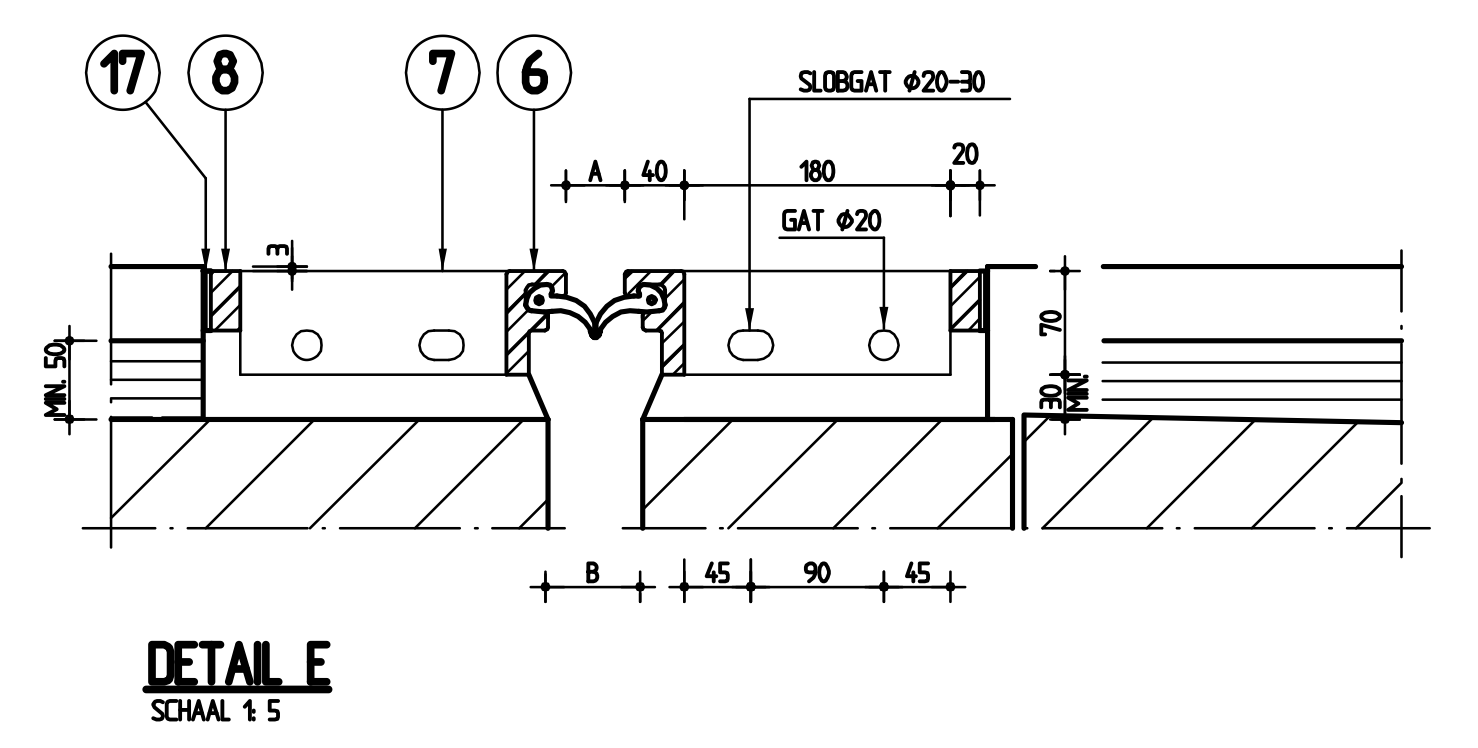
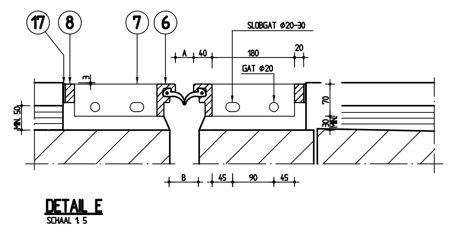
Introductie nieuwe generatie zwaar verankerde klauwprofielvoegen met bandprofiel afdichtingen (concept 1.2)
In 2004/2005 vond bij Rijkswaterstaat een evaluatie plaats van de praktijkprestaties van voegovergangen. Daarbij werd ook een bezoek gebracht aan andere landen met een min of meer vergelijkbare vrachtverkeersintensiteit zoals België en Duitsland. In dat rapport kwam duidelijk naar voren dat de kunsthars voegovergangen, mattenvoegen en bitumineuze voegovergangen in autosnelwegen zeer slecht presteerden. Deze evaluatie lag mede ten grondslag aan de ontwikkeling van de NBD00400 uit 2006. Deze norm bood twee referentieontwerpen: één voor nieuwbouwsituaties en één voor renovaties/vervanging. Vooruitlopend op deze norm, publiceerde Rijkswaterstaat deze keuze in het informatiebulletin 2005-01.
Vanaf 2006 bestonden er dus 2 normen voor voegovergangen, één voor meervoudige voegovergangen en één voor enkelvoudige voegovergangen.
Aandacht voor geluid (2009)
Intussen stonden de ontwikkelingen niet stil. Met het stiller worden van asfalt en het steeds meer toepassen van geluidsschermen bij autosnelwegen ontstond steeds meer geluidshinder door voegovergangen. Door veel onderzoek is de NBD00401 Geluidseisen voegovergangen ontwikkeld, die uiteindelijk in 2010 van kracht werd. Om nog te kunnen voldoen aan de geluidseisen werden ook andere stillere oplossingen door de markt ontwikkeld. Voor enkelvoudige voegovergangen kwamen er vanuit de markt varianten van de referentieontwerpen van de voegovergangen in de NBD-00400, nu uitgerust met zogenaamde sinusplaten.







