Principe
Een randprofiel met aangelast stripanker is opgenomen in voegbalk van een speciaal, enigszins flexibel, polymeerbeton met een vaste hoogte-breedteverhouding.
Door de flexibiliteit blijven spanningen uit verkeersbelasting en temperatuur beperkt en leiden niet tot scheurvorming en onthechting.
Dit type wordt geleverd door Maurer Sohne onder de naam “Betoflex” en door Mageba onder de naam “TENSACRETE RE/Roboflex”.
Toepassingsgebied:
- bestaande kunstwerken met een beperkte inbouwhoogte (asfaltdikte) ,
- betonnen kunstwerken waarbij sprake is van een hoge wapeningsdichtheid en/of voorspanning onder de voegovergangen waardoor het aanbrengen van ankers praktisch onuitvoerbaar of risicovol i
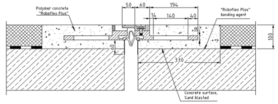
Aansluiting
Door het ontbreken van een mechanische verbinding en een uitstekende hechting op zowel beton als staal kan dit concept op zowel betonnen als stalen dekken worden toegepast.
Bij beton dient de cementhuid te zijn verwijderd middels stralen en het oppervlak schoon en droog te zijn (het vochtgehalte dient onder de 4% te liggen) .
Stalen ondergronden dienen gestraald te worden tot SA 2 1/2.
Varianten
Er zijn twee varianten:
1.4a1 randprofiel zonder sinusplaten
De voegbalken hebben min of meer een vaste hoogte-breedteverhouding van 1 : 2 à 2,5
Bij landhoofden is de breedte van de frontwand begrenst, meestal 250 à 300 mm. De hoogte maximale hoogte is dan circa 120 mm
1.4a2 randprofiel met sinusplaten
Er zijn ook geluidsarme variant met sinusplaten. Bij Mageba onder de naam “TENSACRETE RE-LS” .Deze heeft een vaste hoogte-breedte verhouding van 1:3.
Bij landhoofden is de breedte van de frontwand begrenst, meestal 250 à 300 mm. De hoogte maximale hoogte is dan circa 100 mm. De minimale inbouwhoogte is circa 75mm.
Bij Maurer is een geluidsarme variant onder de naam XC1-B in ontwikkeling. Deze is nog niet gevalideerd. Volgens Maurer is de minimale inbouwhoogte 87mm.
.
Krachtwerking
De krachtoverdracht vanuit het randprofiel dient via voegbalken van speciale polymeerbeton via aanhechting overgedragen te worden op de ondergrond. Hiervoor worden hoge eisen gesteld aan de materialen, de ondergrond en de uitvoering. Cruciaal is een volledig hechtende omhulling met polymeerbeton en ondersteuning van het randprofiel. Het polymeerbeton is enigszins flexibel en werkt spanning-reducerend en is in staat de optredende trekspanningen goed op te nemen.

Materiaaleigenschappen polymeerbeton
In onderstaande tabel zijn de materiaaleigenschappen van het polymeerbeton van Maurer en Mageba weergeven:
| Eigenschap | Maurer Betoflex | Mageba Roboflex | |
| Druksterkte (bij +20 gr C) [N/mm2] | DIN 53457 | 54 | 20 |
| Druksterkte (bij +45 gr C) [N/mm2] | DIN 53457 | 9 | |
| Treksterkte [N/mm2] | DIN 53457 | 22,3 | |
| Hechtsterkte beton [N/mm2] | ISO4624 | 2,4 | 1,55 |
| Hechtsterkte staal [N/mm2] | ISO4624 | 7,4 | 2,9 |
| E-modulus druk (20gr) [N/mm2] | DIN 53457 | 8000 | 175 |
| E-modulus buiging (20gr) [N/mm2] | ISO178 | 800 | |
| Thermische uitzettingscoefficient | 60 x 10-6 |
De thermische uitzettingscoëfficiënt van de polymeerbeton is groter dan beton. De vervorming zal worden verhinderd door de aanhechting. Door de hoge mate van flexibiliteit van het polymeerbeton (relatief lage E-modulus) zullen de spanningen beperkt blijven en door het polymeerbeton opgenomen kunnen worden. Scheurvorming zoals bij de kunstharsbalken van concept 1.5 zal daarom minder snel te verwachten zijn.
Bij dit type voegovergang is een minimale karakteristieke hechtsterkte op beton van 1,5 N/mm2 vereist die vooraf middels proeven in situ geverifieerd moet worden.
Een dergelijke constructie kan alleen gevalideerd worden d.m.v. analyses in combinatie met beproevingen, waaronder ook langdurige dynamische belastingproeven (zie figuur). Uit deze proeven kunnen de hechtsterktes onder dynamische belasting afgeleid worden die gebruikt kunnen worden in vermoeiingsberekeningen.

Ervaringen en referenties
Met de stripverankering is ervaring opgedaan op een aantal locaties in Nederland, onder andere:
- A10 Zuid in object Amstelveenseweg
- knooppunt Nootdorp
- Oosterscheldekering (2004)
- KW Verlatendijk in de verbindingsboog van de A17 met de A16 (2012)
Bij de Schellingwouderbrug in Amsterdam is in 2012 voor het eerst de geluidsarme variant toegepast.
De ervaringen zijn vooralsnog positief, maar beperkt in omvang en tijd. Een betrouwbare uitspraak over de levensduur in autosnelwegen is vanuit de praktijk moeilijk te geven. Op basis van analyses en testen wordt een ontwerplevensduur van 25 jaar verondersteld in autosnelwegen. Veroudering van de mortel met bijbehorende eigenschappen (afname flexibiliteit) en combinatie met verkeersbelasting zal uiteindelijk leiden tot vermoeiing. De levensduur in de praktijk zal sterk afhangen van de uitvoeringskwaliteit. Onvoldoende aanhechting kan dan eveneens leiden tot volledige onthechting
Het grootste nadeel zijn de hoge kosten van deze voegovergangen door de toepassing van polymeerbeton die beduidend hoger zijn dan staalvezelmortel t.b.v. voegtype 1.2. Tevens zijn de weersomstandigheden kritisch (temperatuur, luchtvochtigheid, nat) bij het verwerken van polymeerbeton.
Specifieke aandachtspunten
Tijdens het aanbrengen is een aaneengesloten droge periode van circa vereist en dient de temperatuur tussen 5 en 25 graden Celsius te liggen.
Ondergrond dient een vochtpercentage <4% te hebben. Aandachtspunt is uittreden water uit een ZOAB-deklaag. Indien droog weer niet gegardeerd is, dienen preventieve maatregelen getroffen te worden in de vorm van een doorwerktent.
De voegovergang is redelijk snel in te bouwen maar het verwerken van de mortel is arbeidsintensief . Voor de installatietijd inclusief uithardingstijd dient circa 24 uur in acht genomen te worden.









